nickburt
Observer
Been working on a friends overland Daf 4x4 this bank holiday weekend.
The Daf is 24v, the main vehicle battery is a bank of 2 x 24v.
I've had to strip out a lot of wiring due to poor design and installation causing a few problems, but now getting close to rebuilding.
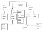
The battery to battery charger is a 24v to 12v unit, which is fine. It has remote control capability. When the remote is triggered (currently from the alternator), the charger switches on. Which is fine, in it's own right, but, as per the rough drawing of mine above, he want's mains and solar charging capability.
The connection of battery to battery charging and solar is fine - the MPPT controller will take care of how the solar interacts with the other charging methods, but my concern is if the mains and batt to batt chargers are both on (i.e. shore power connected and the engine running) how they will interact with each other (again, assuming no change over switch). I think there's a possibilty of one back feeding the other and doing some damage.
So, what I'm looking for, is an intelligent system that will cope with all 3 possible methods of charging. At the moment, I'm thinking a change over relay to swap over between mains charger and batt to batt charger. When energised by the batt to batt charger remote control signal (alternator output), the batt to batt charger is used, if the engine isn't running, the mains charger is connected and the batt to batt charger disconnected.
This would leave the MPPT controller to decide how the solar and "other" charge supply interact.
Not sure that all makes sense, but see below.

The Daf is 24v, the main vehicle battery is a bank of 2 x 24v.
I've had to strip out a lot of wiring due to poor design and installation causing a few problems, but now getting close to rebuilding.
The battery to battery charger is a 24v to 12v unit, which is fine. It has remote control capability. When the remote is triggered (currently from the alternator), the charger switches on. Which is fine, in it's own right, but, as per the rough drawing of mine above, he want's mains and solar charging capability.
The connection of battery to battery charging and solar is fine - the MPPT controller will take care of how the solar interacts with the other charging methods, but my concern is if the mains and batt to batt chargers are both on (i.e. shore power connected and the engine running) how they will interact with each other (again, assuming no change over switch). I think there's a possibilty of one back feeding the other and doing some damage.
So, what I'm looking for, is an intelligent system that will cope with all 3 possible methods of charging. At the moment, I'm thinking a change over relay to swap over between mains charger and batt to batt charger. When energised by the batt to batt charger remote control signal (alternator output), the batt to batt charger is used, if the engine isn't running, the mains charger is connected and the batt to batt charger disconnected.
This would leave the MPPT controller to decide how the solar and "other" charge supply interact.
Not sure that all makes sense, but see below.

